Яскрава жакардова двошарова ковдра, яку можна швидко скласти, закріпити ременями-фіксаторами і зручно переносити на плечі, - ідеальний супутник для будь-яких пригод на природі. Її нижній бік виконаний з бавовняної тканини із водовідштовхувальним покриттям і легко очищається серветками від бруду і вологи на землі чи траві. У кутову кишеню на блискавці можна покласти необхідні дрібниці: ключі, павербенк тощо.

Опис роботи
Вам знадобиться: викрійка, жакардова тканина 2,25 м завширшки 140 см; бавовняна тканина з покриттям 1,80 м завширшки 140 см; волюменфліз для припрасування (наприклад, H 630 від Freudenberg), еластичний флізелін формбанд; 1 застібка-блискавка завдовжки 60 см; коса бейка 0,65 м завширшки 3 см; 2 півкільця завширшки по 2,5 см; 2 карабіни завширшки по 2,5 см; 1 пряжка-застібка завширшки 2,5 см; ремінна стрічка 3,80 м завширшки 2,5 см; 7 заклепок діаметром по 9 мм; 6 кнопок діаметром по 1,2 см.
Рекомендовані тканини: бавовняні, шерстяні, змішані тканини, що тримають форму; водовідштовхувальні тканини для підкладки.
Розмір: 100 х 136 см

РОЗКРІЙ
1 Ковдра зі згином 2х
2 Кишеня 1х
Припуски на шви – 1 см.

ПОШИТТЯ
1. Кишеня
Застібку-блискавку розкрити. Одну тасьму застібки-блискавки приколоти до косого зрізу кишені лицьовим боком до лицьового боку, пришити за допомогою лапки швацької машини для пришивання застібок-блискавок і кантів на відстані 7 мм.
Що потрібно на пікнік? 30 викрійок одягу та аксесуарів Burda

Припуск окантувати косою бейкою. Для цього косу бейку приколоти до зрізу і пришити. Бейку відігнути на виворітний бік, обігнувши зрізи, підігнути і пришити вручну поверх шва пришивання.

Застібку-блискавку закрити. Окантовку запрасувати на кишеню. Кишеню накласти на деталь ковдри із жакардової тканини по лінії суміщення, вільну тасьму приколоти і пришити до ковдри по розмітці. Зовнішній зріз кишені приколоти до ковдри на відстані 7 мм від зрізу і пришити.
Спортивні костюми для всієї сім’ї: 50 викрійок на будь-який розмір і сезон

2. Ковдра
Обидві деталі ковдри (із жакардової та бавовняної тканини) сколоти лицьовими боками, зовнішні зрізи зшити, залишивши у шві по прямому зрізу відкритою ділянку завдовжки бл. 30 см для вивертання.

Ковдру вивернути, відкриту ділянку у шві зашити.

Краї припрасувати і вистрочити на відстані 2,5 см, при цьому строчку біля застібки-блискавки перервати. Верхню і нижню сторони ковдри з’єднати. Для цього ковдру розкласти і розправити. Шари ковдри зметати по розмітці. По розмічених лініях прокласти строчки, почавши/закінчивши біля строчки вздовж країв.
Як пошити стьобану ковдру в стилі печворк: покрокова інструкція

3. Ремінь через плече
- Для плечового ременя від ремінної стрічки відрізати відрізок завдовжки 1,60 м.
- Один кінець ременя протягнути в карабін, відігнути на виворітний бік на довжину 6 мм, карабін лежить у згині.
- З лицьового боку на відстані 3 см від згину і далі ще через 2 см встановити заклепки, фіксуючи таким чином кінець ременя.
- Інший кінець ременя протягнути в пряжку-застібку і карабін.
- Кінець стрічки відігнути на виворітний бік, обігнувши перетинку пряжки.
- Кінець стрічки відігнути до нижнього краю ремінної стрічки на довжину бл. 6 см і зафіксувати заклепкою.
Термочохол з ручкою для пляшки

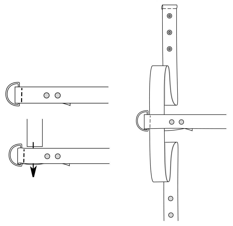
4. Ремінь-фіксатор
- Для Н-подібного ременя решту ремінної стрічки розрізати на 3 частини: 2 відрізки завдовжки по 80 см і 1 відрізок завдовжки 60 см.
- Кінці коротшого відрізка протягнути у півкільця, відігнути на виворітний бік на довжину по 8 см, півкільця лежать у згинах.
- На відстані по 1,5 см від згинів прокласти поперечні строчки.
- З лицьового боку на відстані по 1 см від кінців стрічки і ще через 2 см встановити заклепки.
- Через отримані петлі (= між заклепками і швами) протягнути довші відрізки стрічки.
- Кінці стрічок підігнути двічі на ширину по 1 см і застрочити.
- На нижніх кінцях стрічок установити верхні частини кнопок посередині стрічок: перші кнопки на відстані по 14 см від кінців, наступні по 2 кнопки з інтервалами по 5 см.
- На верхніх кінцях стрічок установити відповідно нижні частини кнопок.

5. Закріпити ремінь-фіксатор
Ковдру скласти навпіл і щільно скрутити валиком. Н-подібний ремінь для перенесення обігнути навколо ковдри, застібнути кнопки.

Ще більше цікавих моделей та оригінальних ідей у журналі Burda Style 5/2026!




